شركة BMW تصمم مسامير خاصة جديدة بشعار الشركة
مسمار BMW
بينما تتجه بعض شركات صناعة السيارات نحو تسهيل عمليات الإصلاح وتوفير تعديلات تناسب احتياجات المالكين، يبدو أن شركات أخرى تتجه بهدوء في الاتجاه المعاكس. وشركة مرسيدس، على سبيل المثال، تسعى إلى جعل إصلاح المصابيح الأمامية أقل عناءً من خلال استبدال الغراء بالمسامير. في الوقت نفسه، يجرب منافسها الأكبر ميزة تصميمية قد تجعل عمليات الإصلاح المنزلية أكثر تعقيدًا.
BMW تصمم مسامير خاصة

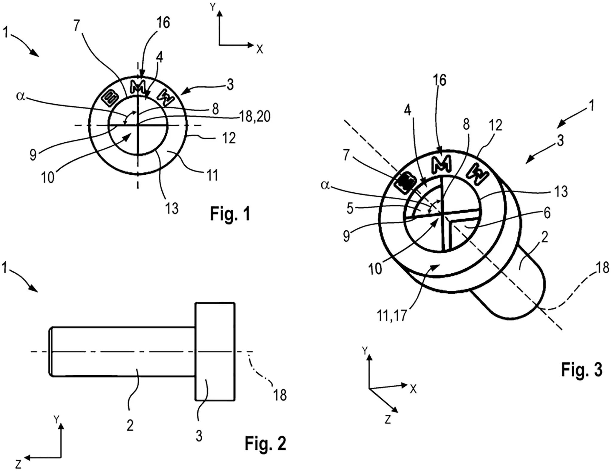
وقدمت بي إم دبليو مجموعة من رسومات براءات الاختراع التي تظهر رؤوس براغي أو مسامير مصممة خصيصاً بنفس شعار الشركة. وبدلاً من استخدام أدوات التثبيت التقليدية، يبدو أن العلامة التجارية تجرب تصاميم خاصة بها مستوحاة من شعارها الدائري، مع تفاصيل دقيقة تحاكي أجزاء الشعار.
براءة اختراع جديدة لشركة BMW

وتحدد براءة الاختراع أربعة أنواع مختلفة من رؤوس المفاتيح، تشمل الرؤوس المجوفة والمسطحة والمستديرة. كل رأس مصمم على شكل شعار BMW، مقسم إلى أربعة أجزاء. اثنان من هذه الأجزاء غائران، بينما الأجزاء المتبقية إما مسطحة أو بارزة، مما يشكل شكلاً قد يتطلب استخدام أداة مصممة خصيصاً له.

أدوات خاصة لتثبيت مسامير BMW الجديدة
وللوهلة الأولى، تبدو رؤوس المسامير ذات العلامة التجارية مثيرة للاهتمام، خاصةً عند استخدامها في الأجزاء الظاهرة من المقصورة أو في حجرة المحرك. لكن بالنسبة للميكانيكيين أو مالكي السيارات الذين يستخدمون أدوات عادية، فهي أقل جاذبية بكثير. فأنماط المسامير غير المألوفة تعني أن الأدوات العادية لن تتمكن من تثبيتها، وقد يحتاج أي شخص يرغب في الوصول إلى المكونات الرئيسية إلى أدوات خاصة بسيارات BMW.

مشكلة كبيرة ستسببها مسامير BMW في حال انتاجها
ليس من الصعب تخيل المشكلة التي قد يسببها هذا في ورش الصيانة. لن تكفي الأدوات القياسية، وما لم تكن وكيلًا معتمدًا لسيارات BMW أو من عشاقها المتحمسين، فمن المرجح أن تجد نفسك بحاجة إلى مفك مسامير خاص لإتمام عملية الإصلاح. وأشار البعض إلى أن موردي قطع الغيار البديلة سيبدأون على الأرجح بإنتاج قطع غيار متوافقة فورًا.
مسامير BMW غير مؤكدة الإنتاج
بالطبع، يبقى مصير هذه المسامير في الإنتاج غير مؤكد. فشركات صناعة السيارات تسجل العديد من براءات الاختراع التي لا تتجاوز مرحلة التصميم . وقد قدمت هذه التصاميم تحديدًا في 7 يونيو 2024، ونشرت في 11 ديسمبر 2025. لكنها في الوقت الراهن مجرد رسومات.
أخبار متعلقة
بشحنة بطارية واحدة🔥 BMW iX3🔥قطعت أكثر من 1000 كيلومتر⬅️ الكبير حيفضل كبير
20 نوفمبر 2025 07:30 م
BMW راعي السيارات الفاخرة الرسمي لمهرجان الجونة السينمائي 2025
20 أكتوبر 2025 07:36 ص
اسعار ومواصفات السيارات
البحث حسب الميزانية
البحث حسب الميزانية
البحث حسب الموديل
الأكثر مشاهدة
أخبار ذات صلة
gmauthority : كاديلاك تعود لمصر بتشكيلة سيارات تركز على الكهرباء
18 مايو 2026 11:02 م
إلزام "بلوجر" سيارات بدفع 2 مليون يوان لـ BYD بتهمة التشهير
18 مايو 2026 05:59 م
جي بي أوتو تعتمد GB Academy كمركز تدريب لشانجان في شمال أفريقيا
16 مايو 2026 12:03 م
شيري تطور محرك تيربو سعة 1.0 لتر لسيارات أومودا وجايكو الصغيرة
14 مايو 2026 09:04 م
العودة للأعلى
أكثر الكلمات انتشاراً