نيسان جاهزة لتطبيق تقنية الإطارات الخالية من الهواء
إطارات نيسان بدون هواء
قدمت نيسان براءة اختراع لإطار جديد بدون هواء، وهو ليس مفهومًا جديدًا بأي حال من الأحوال. وتم اكتشاف براءة الاختراع المودعة لدى المنظمة العالمية للملكية الفكرية. وكانت شركة Goodyear أول من قدم تكنولوجيا الإطارات الخالية من الهواء في عام 2022، وبعد عام، قدمت ميشلان إطارات Uptis.
تقنية الإطار الخالي من الهواء
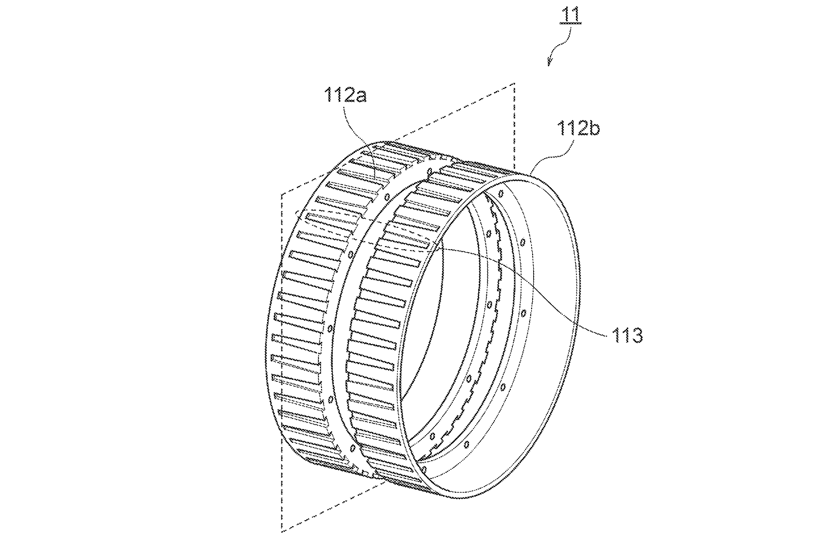
ويستخدم الإطار الخالي من الهواء الخاص بالعلامة التجارية اليابانية نيسان نفس المفهوم. ونظرًا لأن الإطار ليس مغلقًا بالكامل بسبب عدم وجود جدار جانبي، فيجب أن يتكون الإطار الخالي من الهواء من عدة قضبان مرتبة بطريقة تمتص المطبات بشكل كافٍ وتوفر الثبات.
أهم عيب في الإطارات الخالية من الهواء
ووفقا لنيسان، فإن المشكلة الرئيسية هي قوى التحميل على الإطار. والحل السريع هو جعل الجزء الخارجي من الإطار الخالي من الهواء أكثر قوة، لكن نيسان تقول إن هذا سيؤدي إلى تقليل رقعة التلامس، وعدم القدرة على امتصاص عيوب الطريق، وصعوبة التعامل مع القوة الجانبية عند التوجيه.
حل نيسان لعيوب الاطارات الخالية من الهواء
_20231004210159.jpg)
والحل الذي تقدمه نيسان هو مجموعة من الأضلاع المرنة التي يتم توفيرها بشكل قطري من الجانب المحيطي الخارجي للعجلة باتجاه الجانب المحيطي الداخلي للمداس. باختصار، سيكون بها الكثير من الأسلاك المرنة بين العجلة والمداس. وللعلم، فقد بدأت شركة فورد بالفعل في تطوير عجلات للإطارات الخالية من الهواء.
أهم المركبات التي يمكنها استخدام تقنية الإطارات بدون هواء
وبهذه الطريقة، يتم نقل الحمل المؤثر على الإطار ، مما يعني أن المداس الخارجي يتعرض لضربات أقل. وبحسب نيسان، يمكن استخدام هذه الإطارات في المركبات ذات العجلات الأربع، والمركبات ذات العجلتين ، والدراجات، ومجموعة كبيرة من الأشياء الأخرى التي تحتاج إلى إطارات.
لوائح الاتحاد الأوروبي تفرض قيود على الفرامل والإطارات

ولكن لماذا أصبحت العديد من الشركات المصنعة البارزة مهتمة فجأة بالإطارات الخالية من الهواء ؟ يرجع ذلك على الأرجح إلى لوائح الانبعاثات الأوروبية 7 الواردة، والتي تفرض قيودًا جديدة صارمة على كل من الفرامل والإطارات.
الإطارات الخالية من الهواء قد تكون أكثر صداقة للبيئة
وقد انتقد قادة صناعة السيارات البارزون هذه اللوائح الجديدة، وفازوا في المعركة في نهاية المطاف. ومع ذلك، لم يتم إجراء أي تغييرات على القيود التي تهدف إلى تنظيم انبعاثات الجسيمات من الفرامل والإطارات. والإطارات الخالية من الهواء لا تتعرض للثقب ولا تتلف بسهولة. ويفترض أن الضرر الأقل يعني عددًا أقل من الإطارات التي تحتاج إلى الاستبدال، لذلك يكون الأمر أكثر لطفًا على البيئة عندما تنظر إليها من تلك الزاوية.
أخبار متعلقة
حسين مصطفي : مصنع الإطارات الجديد للاستهلاك المحلي والتصدير
30 سبتمبر 2023 09:43 م
استمرار حملة استدعاء نيسان في مصر بسبب الوسائد الهوائية
05 سبتمبر 2023 03:19 م
نيسان مصر تُنظم عرضًا خاصًا للفيلم العالمي The Flash برعاية تكنولوجيا e-POWER
15 يوليو 2023 06:21 م
اسعار ومواصفات السيارات
البحث حسب الميزانية
البحث حسب الميزانية
البحث حسب الموديل
الأكثر مشاهدة
أخبار ذات صلة
نيسان تريد تقديم سيارات رخيصة مثل صني .. ولكن هناك مشكلة !!
18 أبريل 2026 11:12 م
أودي و"سايك" تعمقان الشراكة لتطوير جيل جديد من السيارات الكهربائية الفاخرة
19 أبريل 2026 05:17 م
بعد الخطوة السعودية .. هل يمكن أن تعود سيارات فورد في مصر ؟
18 أبريل 2026 03:13 م
مجموعة BYD تحتفل بالسيارة رقم 16 مليون في تاريخها وتدشن الجيل الثاني من "دينزا D9"
18 أبريل 2026 09:37 م
العودة للأعلى
أكثر الكلمات انتشاراً